Patent DE 10 2016 119 927
Circuit arrangement for providing the charging energy for a level change on a signal bus, calibration method and signal transmission system
Standardised communication protocols between different electronic chips are a basic requirement for the design of modern electronic systems. Established protocols, which are supported by most commercial chips, are often associated with relatively high energy requirements during communication. A new circuit concept can reduce the energy requirement and thus extend the operating time of battery-operated systems or extend the applicability of the protocols to alternative supply concepts such as energy harvesting.
Signal transmission between electronic system components is often handled via a serial signal bus. Various communication protocols are used, such as SMBus, I2C, 1-wire or SPI. Many of these protocols require pull-up resistors that create a defined high level on the signal bus, which can be pulled to low level for signalling. The continuous current flow via the pull-up resistors contributes significantly to energy consumption when such signal buses are used in ultra-low-power and battery-operated systems (e.g. RFID sensor transponders).
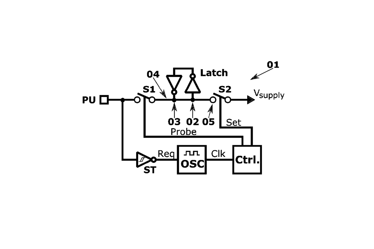
The idea behind the invention is a novel circuit concept in which pull-up resistors are dispensed with and the charging energy for a level change is provided very energy-efficiently by a pull-up emulator. The pull-up emulator circuit 01, includes
- State memory (latch with input 02, output 03), which is connected to a charging line 04,
- Set switch S2, which in the closed state switches on a high level to the charging line 04 and the state memory connected to it by applying a supply voltage Vsupply ; when open, it disconnects 04 from Vsupply so that a high-impedance state prevails at node 05,
- Probe switch S1, which in the closed state switches the charging line 04 and the state memory connected to it to a bus node PU that can be connected to the signal bus,
- Control circuit Ctrl, clocked by an oscillator OSC.
Within a predetermined operating cycle, the control circuit sets the set switch
- the set switch S2 to the closed state in order to set the state memory to high level,
- the probe switch S1 to the closed state,
- after a predetermined overlap time, set switch S2 to the open state,
- the probe switch S1 to the open state.
The overlap time is dimensioned such that the charging energy provided during the closed state of switches S1 and S2 is sufficient to switch the bus capacity of the signal bus connected to bus node PU from the low level to the high level, provided that the signal bus is idle.
Advantages of the invention
- The charging energy for a level change on a signal bus is provided very energy-efficiently by the pull-up emulator.
- The circuit is generally suitable for different bus systems and any signal frequencies.
- No adaptations are required for conventional system components connected to the bus. The circuit can therefore be easily integrated into conventional bus systems.
Patent No.:DE 10 2016 119 927
Inventor:Benjamin Saft. Georg Gläser
Application:
Internet of Things (IoT)| passive wireless sensors (e.g. RFID sensors)Research field:Integrated sensor systems
granted patent
Application date:19 Oktober 2016
Date of first publication:19 April 2018
Date of publication of grant:09 März 2023
Related content

Project
RoMulus
Systematic design and economical manufacture for intelligent multi-sensor systems in small quantities

Press release,
Energieeffizienz für serielle Inter-Chip-Kommunikation mit kommerziellen drahtlosen Sensoren
iENA-Silbermedaille für Latch-basierten aktiven Ultra-Low-Power-Pull-Up-Emulator

Press release,
Highly accurate and battery-free measurement via RFID
IMMS PhD candidate defends dissertation on precise passive RFID sensor technology

Press release,
Best Paper Award Runner-Up for MEMS-ASIC-Gesamtdesignmethodik
Implemented acceleration sensor to validate the novel method

Press release,
RoMulus research project: Intelligent sensor systems for Industry 4.0
Reducing development and manufacturing costs
Modeling and Optimization of Supply Sensitivity for a Time-Domain Temperature Sensor
Jun Tan1.2021 17th International Conference on Synthesis, Modeling, Analysis and Simulation Methods and Applications to Circuit Design (SMACD), Proceedings in: 423 Seiten, 140 x 124 mm, Slimlinebox, CD-Rom, ISBN 978-3-8007-5588-2, E-Book: ISBN 978-3-8007-5589-9, ieeexplore.ieee.org/document/9547935, 19 - 22 July 2021, Erfurt, Germany, online
1IMMS Institut für Mikroelektronik- und Mechatronik-Systeme gemeinnützige GmbH, 98693 Ilmenau, Germany.Entwurf, Evaluierung und Optimierung von HF- und UHF-RFID-Sensorsystemen
Björn Bieske1. Tom Reinhold1. Jun Tan1.Analog 2020, 17. ITG/GMM-Fachtagung, Analoge Schaltungen: Schlüsselsysteme für Automotive, IoT und zukünftige drahtlose Technologien, 28-30 September 2020, online
1IMMS Institut für Mikroelektronik- und Mechatronik-Systeme gemeinnützige GmbH, 98693 Ilmenau, Germany.Flexible PXI-Plattform für Evaluierung und Test von HF- und UHF-RFID-Sensorsystemen
Björn Bieske1. Tom Reinhold1. Jun Tan1.32. GI/GMM/ITG-Workshop Testmethoden und Zuverlässigkeit von Schaltungen und Systemen (TuZ 2020), 16. - 18. Februar 2020, Ludwigsburg, Germany
1IMMS Institut für Mikroelektronik- und Mechatronik-Systeme gemeinnützige GmbH, 98693 Ilmenau, Germany.UHF-RFID-Chip zum batterielosen Betrieb kommerzieller Sensoren für I4.0-Anwendungen
Muralikrishna Sathyamurthy1.Markt&Technik, Ausgabe 07/2020, 14. Februar 2020, Seite 40-42
1IMMS Institut für Mikroelektronik- und Mechatronik-Systeme gemeinnützige GmbH, 98693 Ilmenau, Germany.

Event,
CiS Workshop 2023
Workshop Simulation & Design 2023 at CiS Forschungsinstitut für Mikrosensorik

Event,
Analog 2020
Zwei Vorträge auf der 17. ITG/GMM-Fachtagung Analog 2020, Analoge Schaltungen: Schlüsselsysteme für Automotive, IoT und zukünftige drahtlose Technologien

Event,
TuZ 2020
32. GI/GMM/ITG-Workshop Testmethoden und Zuverlässigkeit von Schaltungen und Systemen

Event,
elmug4future 2019
Two presentations at the Technology Conference on Condition, Health and Quality Monitoring – Sensors, Methods and Applications
Contact
Contact
Eric Schäfer, M. Sc.
Head of Microelectronics / Branch Office Erfurt
eric.schaefer(at)imms.de+49 (0) 361 663 25 35
Eric Schäfer and his team research Integrated sensor systems, especially CMOS-based biosensors, ULP sensor systems and AI-based design and test automation. The results are being incorporated into research on the lead applications Sensor systems for in-vitro diagnostics and RFID sensor technology. It will assist you with services for the development of Integrated circuits and with IC design methods.





