Patent DE 10 2018 218 122
Device and method for analysing biological, chemical and biochemical substances
Application-specific integrated circuits with sensor technology for near-patient laboratory diagnostics, also known as point-of-care testing (PoCT), and so-called in-vitro diagnostics (IVD) are the focus of research and development at IMMS. The invention contributes to the improvement of medical diagnostics in PoCT and IVD applications, as a large part of the technical complexity is integrated into the microelectronic sensor system.
The idea of the invention includes the device and a method described below, in particular for the optical analysis of biological, chemical and biochemical substances and binding reactions using microelectronic sensor ASICs, which can be used for the rapid, precise and reliable detection of clinically relevant analytes.
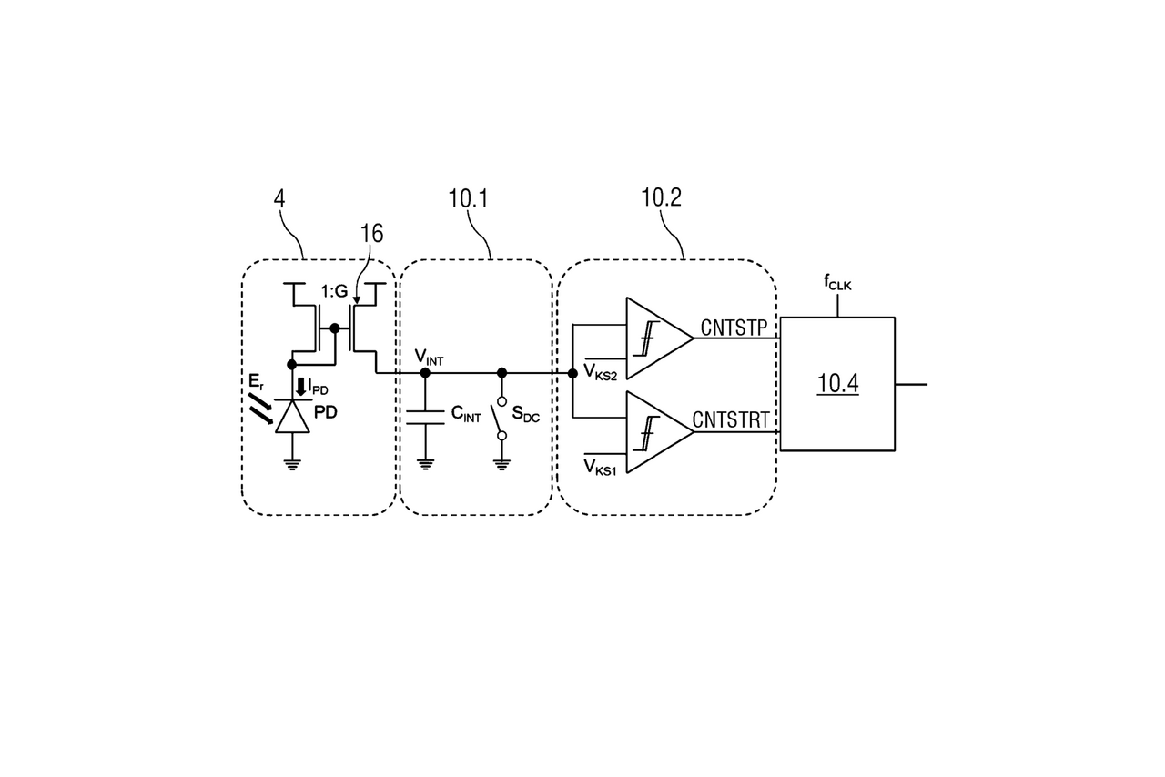
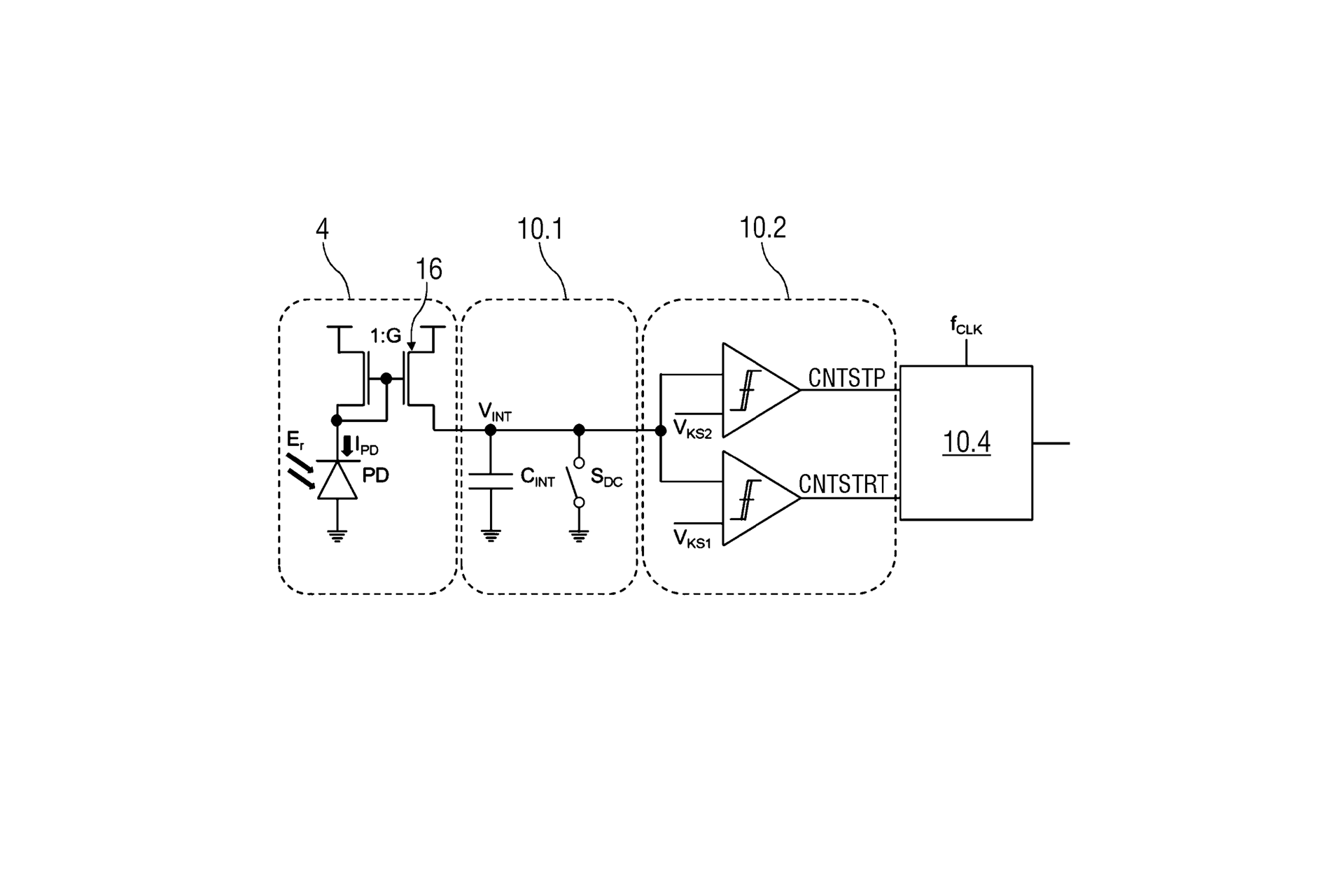
The device comprises a microelectronic sensor system with
- semiconductor sensor (4)
- application-specific integrated circuit for signal processing of the sensor signal
- technical interface for the application of biological, chemical or biochemical substances
- adjusting device for adjusting the dynamic range and the signal resolution of the sensor signal with an integrator circuit (10.1) which comprises an adjustable electrical capacitance (CINT) to which the electrical signal generated by means of the at least one semiconductor sensor (4) can be applied,
- comparator circuit (10.2), which detects the increase in the electrical integration voltage (VINT) resulting from the charging of the adjustable electrical capacitance (CINT) of the integrator circuit (10.1) and compares the value of the resulting electrical integration voltage (VINT) with two different signal thresholds (VKS1, VKS2)
- Counter circuit (10.4) which, when a first signal threshold (VKS1) of the resulting electrical integration voltage (VINT) is reached, starts a time counting process as a function of the clock pulse fed into the microelectronic sensor system at a defined frequency and stops the time counting process when a higher second signal threshold (VKS2) is reached
The method utilises the device described, in which a biological, chemical or biochemical substance is applied to the technical interface, for which substance information formed as a function of the substance is detected by means of the semiconductor sensor and an electrical signal corresponding to the substance information is generated.
Due to the adjustment of the dynamic range and signal resolution, the device enables a variety of physically different analysis methods to be carried out, whereby the number of necessary preparation steps and thus the duration of the entire analysis process, the material consumption for sample preparation and the number of technical, for example optical, components can be significantly reduced.
Patent No.:DE 10 2018 218 122
Inventor:Alexander Hofmann. Andre Jäger. Balazs Nemeth. Holger Pless. Kristin Eichelkraut
Application:
Point-of-care testing (PoCT)| in-vitro diagnostics (IVD)Research field:Integrated sensor systems
granted patent
Application date:23 October 2018
Date of first publication:23 April 2020
Date of publication of grant:16 February 2023
Related content

Project
INSPECT
We have developed a CMOS biochip with which the prostate-specific antigen can be quantitatively detected. The chip achieves the specifications required for clinical PSA tests according to Rili-BÄK for early cancer detection.

Project
MIMOSE
Integrated circuit for the early detection of cervical cancer and modular and mobile test system for the characterisation of sensor systems for in-vitro diagnostics

Press release,
Mobile rapid tests for prostate and colon cancer – microelectronics measures antigen concentration
IMMS demonstrates functional model at MEDICA trade fair, Nov 13th – 16th, hall 3/G60

Press release,
IMMS presents three developments at MEDICA 2017
Nov 13th – Nov 16th 2017, Düsseldorf (Germany), joint booth DiagnostikNet BB, hall 3/G60
PSA-Nachweis direkt am Point-of-Care
Alexander Hofmann1. Michael Meister1. Alexander Rolapp1. Peggy Reich1. Friedrich Scholz2. Eric Schäfer1.in medical-design, Innovative Produkte und Lösungen in der Medizintechnik, 02/2021, S. 29-32, shop.weka-business-communication.com/medical-design-dsb/Einzelhefte/medical-design-02-2021-Digital.html, www.medical-design.news
1IMMS Institut für Mikroelektronik- und Mechatronik-Systeme gemeinnützige GmbH, 98693 Ilmenau, Germany. 2Senova Gesellschaft für Biowissenschaft und Technik mbH, Weimar, Germany.Light-Controlled Photometer with Optoelectronic CMOS Biochip for Quantitative PSA Detection
Alexander Hofmann1. Michael Meister1. Alexander Rolapp1. Peggy Reich1. Friedrich Scholz2. Eric Schäfer.2020 IEEE International Symposium on Circuits and Systems (ISCAS), Sevilla, 2020, pp. 1-5, DOI: doi.org/10.1109/ISCAS45731.2020.9180796
1IMMS Institut für Mikroelektronik- und Mechatronik-Systeme gemeinnützige GmbH, 98693 Ilmenau, Germany. 2Senova Gesellschaft für Biowissenschaft und Technik mbH, Weimar, Germany.An Integrated CMOS Photodiode Array for Highly Sensitive Photometric Diagnostics
Alexander Hofmann1. Michael Meister1. Susette Germer1. Friedrich Scholz2.2018 15th International Multi-Conference on Systems, Signals & Devices (SSD), Yassmine Hammamet, Tunisia, 19-22 March 2018, pp. 1465-1470. DOI: doi.org/10.1109/SSD.2018.8570541
1IMMS Institut für Mikroelektronik- und Mechatronik-Systeme gemeinnützige GmbH, 98693 Ilmenau, Germany. 2Senova Gesellschaft für Biowissenschaft und Technik mbH, Weimar, Germany.Entwurf, Aufbau und Test eines photometrischen Messsystems auf Basis eines CMOS-Sensorarrays für die schnelle und zuverlässige Vorort-Diagnostik von Prostatakrebs
Friedrich Scholz1. Alexander Hofmann2.Workshop „Neue Sensorlösungen für Biologie und Medizin“, 23. Oktober 2018, Anwendungszentrum Mikrosystemtechnik Erfurt
1Senova Gesellschaft für Biowissenschaft und Technik mbH, Weimar, Germany. 2IMMS Institut für Mikroelektronik- und Mechatronik-Systeme gemeinnützige GmbH, 98693 Ilmenau, Germany.
Contact
Contact
Eric Schäfer, M. Sc.
Head of Microelectronics / Branch Office Erfurt
eric.schaefer(at)imms.de+49 (0) 361 663 25 35
Eric Schäfer and his team research Integrated sensor systems, especially CMOS-based biosensors, ULP sensor systems and AI-based design and test automation. The results are being incorporated into research on the lead applications Sensor systems for in-vitro diagnostics and RFID sensor technology. It will assist you with services for the development of Integrated circuits and with IC design methods.
Contact
Dipl.-Ing. Michael Meister
Head of Industrial Electronics and Measurement Technology
michael.meister(at)imms.de+49 (0) 3677 874 93 20
Michael Meister is your contact for testing services, the development of test methodologies, and long-term measurements. He answers your questions on Modular and mobile test systems that we develop in our research in Smart distributed measurement and test systems as well as about testing and characterisation of integrated sensor systems. He is responsible for the test equipment at IMMS and will support you in the validation of ASIC and MEMS developments.








