Patent DE 10 2013 113 378
Method and electronic circuit for determining the time of an extremum of a time-varying capacitance
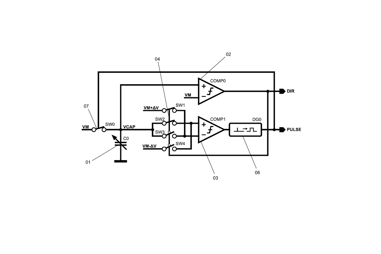
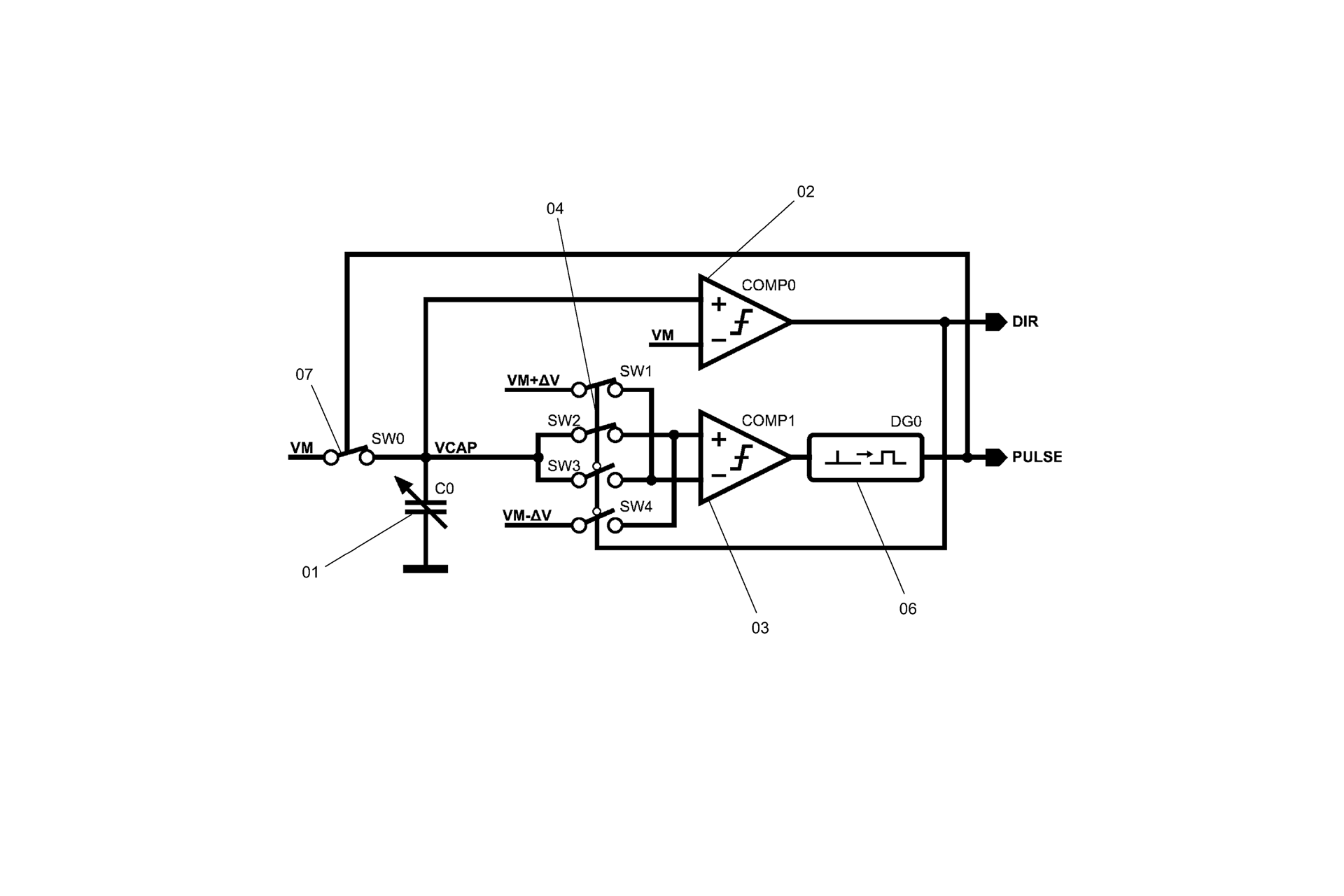
Method for determining the time of an extremum of a time-varying capacitance of a capacitor (01), comprising the following steps:
- comparing a voltage (VCAP) applied to the capacitor (01) with a lower voltage value (VM - ΔV) and an upper voltage value (VM + ΔV);
- Recharging the capacitor (01) to an average voltage value (VM) that lies between the lower voltage value (VM - ΔV) and the upper voltage value (VM + ΔV) if the voltage (VCAP) applied to the capacitor (01) is less than the lower voltage value (VM - ΔV) or greater than the upper voltage value (VM + ΔV);
- Repeat the recharging of the capacitor (01) if the voltage (VCAP) applied to the capacitor (01) is again less than the lower voltage value (VM - ΔV) or again greater than the upper voltage value (VM + ΔV);
- Determining a reference time at which the voltage (VCAP) applied to the capacitor (01) passes through the mean voltage value (VM);
- and determining the time of the extremum as a function of the determined reference time.
Patent No.:DE 10 2013 113 378
Inventor:Benjamin Saft. Eric Schäfer
Application:
Front-end circuit for electrostatic energy harvesters| capacitive position detectionResearch field:Integrated sensor systems
granted patent
Application date:03 Dezember 2013
Date of first publication:03 Juni 2015
Date of publication of grant:26 Januar 2017
Related content

Project
GreenSense
For bio-analysis IMMS developed energy-efficient multi-parametric RFID microsensors and energy harvesting modules for operating autonomous sensors.

Press release,
Highly accurate and battery-free measurement via RFID
IMMS PhD candidate defends dissertation on precise passive RFID sensor technology

Press release,
IMMS receives iENA silver medal for energy-efficient solutions in integrated circuits
Approach to be used in energy-efficient biological analysis and Industry 4.0 applications.

Press release,
IMMS Receives Best Paper Award For Work On Energy-Efficient Sensor
The CMOS temperature sensor was presented at the APCCAS 2014 and is designed for energy-autonomous sensor systems with power supply from MEMS energy harvesting modules.

Press release,
IMMS receives Best Paper Award for MEMS Energy Harvesting Module
Ilmenau, 22.09.2014. On Friday at the ANALOG 2014 conference in Hannover, Germany, IMMS researchers received the Best Paper Award for their article and lecture "A System Architecture for an Integrated Electrostatic MEMS Energy Harvesting Module". This work on the development of miniaturized energy harvesters will establish innovative supply options for self-powered wireless microsensor networks.
The presented topic was part of the the GreenSense research project which started in 2012.…
Adaptiver Frontend-ASIC für elektrostatische Energy-Harvester
Benjamin Saft1. Eric Schäfer1. André Jäger1. Alexander Rolapp1. Eckhard Hennig2.8. GMM-Workshop „Energieautarke Sensorik“, 25.02.216 – 26.02.2016, Renningen (Robert Bosch GmbH) Germany
1IMMS Institut für Mikroelektronik- und Mechatronik-Systeme gemeinnützige GmbH, D-98693 Ilmenau, Germany. 2Hochschule Reutlingen, D-72762 Reutlingen, Germany.An Ultra-Low Power Capacitance Extrema and Ratio Detector for Electrostatic Energy Harvesters
Benjamin Saft1. Eric Schäfer1. Alexander Rolapp1. Eckhard Hennig2.41th European Solid-State Circuits Conference ESSCIRC, 14-18 Sept. 2015, Pages 245 - 248, DOI: dx.doi.org/10.1109/ESSCIRC.2015.7313873, ISBN: 978-1-4673-7470-5, Graz, Austria
1IMMS Institut für Mikroelektronik- und Mechatronik-Systeme gemeinnützige GmbH, D-98693 Ilmenau, Germany. 2Hochschule Reutlingen, D-72762 Reutlingen, Germany.Vibration energy generators for low-frequency spectral excitations
Bianca Leistritz1,2. Michael Katzschmann1. Hannes Toepfer1,2.EUROSENSORS 2014, the 28th European Conference on Solid-State Transducers, in Procedia Engineering, Volume 87, 2014, Pages 420 – 423, www.sciencedirect.com,
1IMMS Institut für Mikroelektronik- und Mechatronik-Systeme gemeinnützige GmbH, D-98693 Ilmenau, Germany. 2Technische Universität Ilmenau, D-98693 Ilmenau, Germany.A Low-Voltage Low-Power CMOS Time-Domain Temperature Sensor Accurate To Within [-0.1,+0.5]˚C From -40˚C To 125˚C
Jun Tan. Alexander Rolapp. Eckhard Hennig.12th IEEE Asia Pacific Conference on Circuits and Systems (APCCAS 2014), Session Sensor Systems and Emerging Memory Technology, pp. 463 – 466, IEEE Catalog Number: CFP14APC-USB, ISBN: 978-1-4799-5229-8, Ishigaki Island, Okinawa, Japan
Contact
Contact
Eric Schäfer, M. Sc.
Head of Microelectronics / Branch Office Erfurt
eric.schaefer(at)imms.de+49 (0) 361 663 25 35
Eric Schäfer and his team research Integrated sensor systems, especially CMOS-based biosensors, ULP sensor systems and AI-based design and test automation. The results are being incorporated into research on the lead applications Sensor systems for in-vitro diagnostics and RFID sensor technology. It will assist you with services for the development of Integrated circuits and with IC design methods.
Contact
Dr.-Ing. Tino Hutschenreuther
Head of System Design
tino.hutschenreuther(at)imms.de+49 (0) 3677 874 93 40
Dr. Tino Hutschenreuther will answer your questions on our research in Smart distributed measurement and test systems and the related core topics Analysis of distributed IoT systems, Embedded AI and Real-time data processing and communications, on the lead applications Adaptive edge AI systems for industrial application and IoT systems for cooperative environmental monitoring as well as on the range of services for the development of embedded systems.





