Patent DE 10 2011 051 020
DC linear actuator
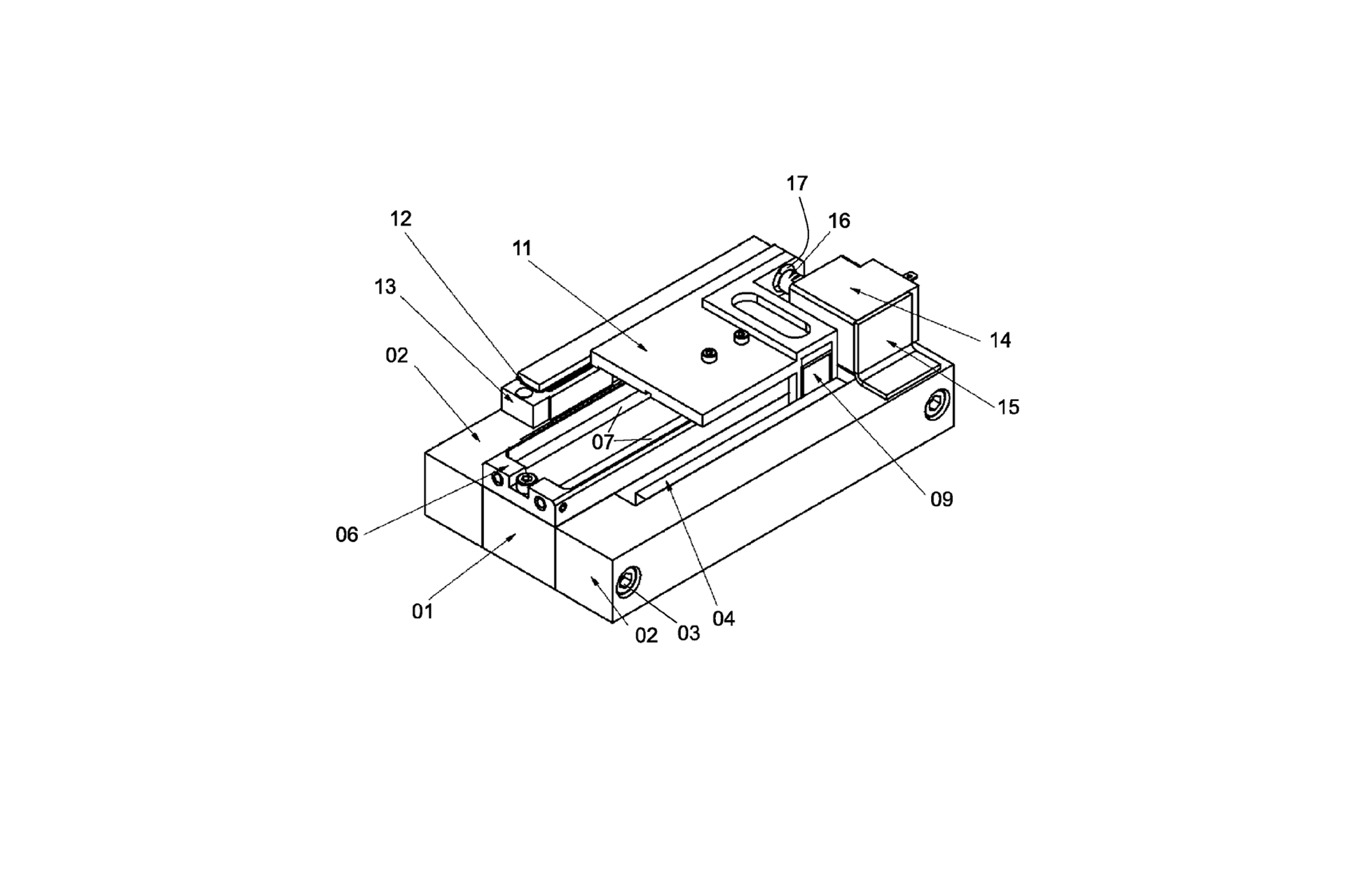
A direct current linear actuator comprising
- a slider with a movable coil (09);
- a linear guide made of a non-magnetisable material, on which the slider is guided, with a guide device (06) and a carriage (08) movable thereon for receiving the coil (09);
- a stator on which a magnetic circuit is formed, having a centre yoke (01) which extends through a cross-sectional area surrounded by the coil (09) of the rotor, two parallel outer yokes (02) which each carry permanent magnets (04) which are arranged diametrically opposite the centre yoke (01);
wherein the linear guide is attached to the central yoke (01) and also extends through the cross-sectional area surrounded by the coil (09), characterised in that the central yoke (01) has a rectangular cross-section, and in that the linear guide is directly coupled to the flat upper side of the central yoke (01).
Patent No.:DE 10 2011 051 020
Inventor:Christoph Schäffel. Dominik Karolewski. Michael Katzschmann. Amado Wittingham. Volker Bornmann
Application:
Linear actuator for highly dynamic applications (e.g. medical technology| optical applications)Research field:Magnetic 6D-direct drives with nanometre precision
granted patent
Application date:10 Juni 2011
Date of first publication:13 Dezember 2012
Date of publication of grant:27 Juni 2019
Contact
Contact
Dr.-Ing. Ludwig Herzog
Head of Mechatronics
ludwig.herzog(at)imms.de+49 (0) 3677 874 93 60
Dr. Ludwig Herzog will provide detail on our research on magnetic 6D direct drives with nm precision for the nm measurement and structuring of objects. He supports you with services for the development of mechatronic systems, for simulation, design and test of MEMS as well as for finite element modelling (FEM) and simulation.



