Patent DE 10 2020 119 371
Mikroelektromechanischer Beschleunigungssensor
Für Messungen von Beschleunigungen, insbesondere aus der Sensorebene heraus, werden mikroelektromechanische Sensorsysteme (MEMS) mit Kammstrukturen eingesetzt, die ein kapazitives Messverfahren nutzen. Mittels eines neuartigen Sensordesigns können im Vergleich zu bekannten Designs eine hohe Sensitivität auf kleinster Fläche und geringe Fehleranfälligkeit erreicht werden. Das neuartige Design erlaubt eine Fertigung des Sensors in einer kostengünstigen Standardtechnologie.
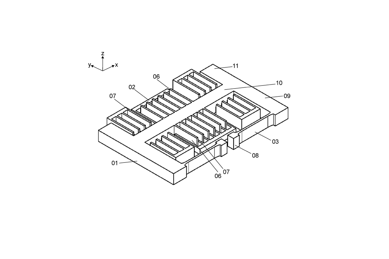
Kapazitive MEMS-Beschleunigungssensoren bestehen zur Minimierung der Sensorfläche aus Kammelektroden mit ineinandergreifenden Fingerstrukturen. Beschleunigungen werden durch die Verschiebung einer an einer Feder aufgehängten Rotor-Elektrode (seismische Masse) gegenüber einer Stator-Elektrode detektiert. Dabei tritt eine Kapazitätsänderung auf, die direkt oder differentiell elektronisch ausgewertet werden kann. Zur Detektion von Beschleunigungen vertikal zur Sensorebene werden Kammsysteme mit zum Teil in der Höhe abgesenkten Rotor- und Statorfingern geeignet verschaltet. Um eine hohe Sensitivität des Sensors zu erreichen, werden Torsionsfedern genutzt. Bekannte Systeme dieser Art sind teilweise aufwendig zu fertigen, sie sind fehleranfällig durch Fertigungstoleranzen, Temperaturschwankungen oder Beschleunigungskräfte in der Sensorebene oder lassen keine kompakte Integration weiterer Bauteile oder Sensoren zu.
Die Idee der Erfindung besteht in einer neuartige Sensorgeometrie, die die genannten Nachteile beseitigt: Die Rotorelektrode besteht aus einem Rahmen mit zwei parallelen Hebelarmen und einem zwischen den Hebelarmen verlaufenden Mittelsteg. Die Hebelarme sind jeweils an einer von zwei Torsionsfedern aufgehängt. Der Mittelsteg verläuft parallel und beabstandet zu den Torsionsfedern. In diesem Design wird die Kapazitätsänderung durch die Änderung der Fläche sich gegenüberliegender Elektroden erzielt.
Vorteile der Erfindung
- Detektion von out-of-plane-Beschleunigungen mit hoher Sensitivität auf kleiner Fläche und mit hoher in-plane-Steifigkeit sowie geringer Fehleranfälligkeit.
- Die konstruktive Gestaltung des Beschleunigungssensors erlaubt die Anwendung kosteneffizienter MEMS-Technologien und die Fertigung in hohen Stückzahlen.
- Das Sensordesign ermöglicht eine flächensparende Kombination mit weiteren Bauteilen oder Beschleunigungssensoren, z.B. zu einem 3D-Sensor.
- Die Möglichkeit der Fertigung unterschiedlicher Sensorbauformen mittels gleicher MEMS-Technologie erlaubt z.B. die Optimierung der seismischem Masse, die gleichmäßige Verteilung der an den Torsionsfedern auftretenden Momente und die Verringerung parasitärer Momente.
Patent-Nr.:DE 10 2020 119 371
Erfinder:Steffen Michael
Anwendung:
Beschleunigungssensoren in Chipgröße (MEMS) mit hoher Empfindlichkeit | z.B. für den Automotiv- oder KommunikationsbereichForschungsfeld:Integrierte Sensorsysteme
erteiltes Patent
Anmeldetag:22.07.2020
Tag der Veröffentlichung:05.08.2021
Tag der Erteilung:29.04.2021
Zugehörige Inhalte

Pressemitteilung,
Hochempfindliche Beschleunigungsmessung mit kleinem MEMS-Sensor
IMMS erhält iENA-Bronzemedaille für mikroelektromechanischen Beschleunigungssensor
Kontakt
Kontakt
Dr.-Ing. Ludwig Herzog
Leiter Mechatronik
ludwig.herzog(at)imms.de+49 (0) 3677 874 93 60
Dr. Ludwig Herzog gibt Ihnen Auskunft zu unserer Forschung an magnetischen 6D-Direktantrieben mit nm-Präzision für die nm-Vermessung und -Strukturierung von Objekten. Er unterstützt Sie mit Dienstleistungen für die Entwicklung mechatronischer Systeme, für Simulation, Design und Test von MEMS sowie für Finite-Elemente-Modellierung und Simulation.



