Patent DE 10 2024 130 098
Ionensensitive Feldeffekttransistoren
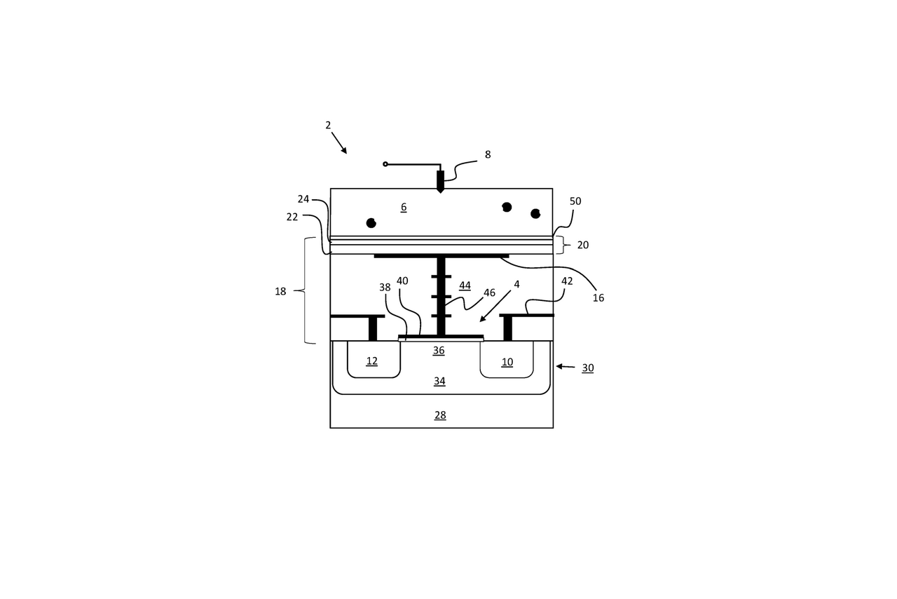
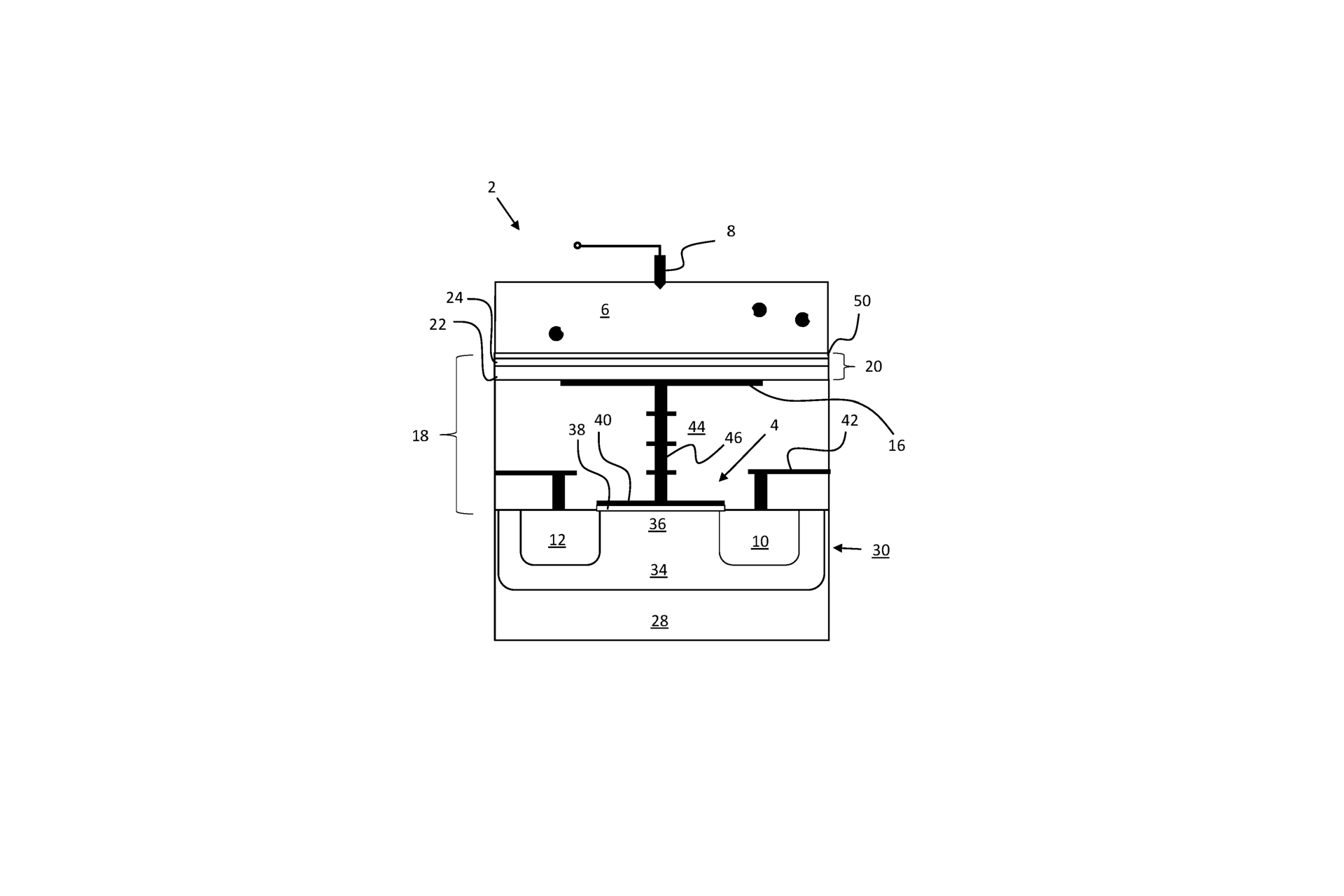
ISFETs sind ionenempfindliche Sensoren, die in CMOS unter Verwendung von Standard-MOSFETs hergestellt werden können. pH-empfindliche CMOS-ISFETs mit spezifischen H+-ionenempfindlichen Schichten erfordern zusätzliche Prozessschritte außerhalb der Standard-CMOS-Prozessabläufe, die meist aufwändig und teuer sind. CMOS-ISFETs in standardmäßigen bzw. nicht modifizierten CMOS-Prozessen können dagegen kostengünstig hergestellt werden und sind mit der Massenproduktion kompatibel, so dass sie für eine große Anzahl verschiedener Anwendungen zugänglich sind.
Nach dem derzeitigen Stand der Technik besteht die ionenempfindliche Schicht von CMOS-ISFETs aus gestapelten Oxid- und Nitrid-Passivierungsschichten. Die Empfindlichkeit und Signalauflösung dieser bekannten CMOS-ISFETs kann jedoch für einige Anwendungen zu gering sein, und die Hydratation der Siliziumnitrid-Schicht kann zu Drifts führen und die Lebensdauer des ISFETs verringern.
Die Idee der Erfindung besteht darin, eine „anti-reflective coating (ARC)“ Schicht an der Schnittstelle zu einem zu testenden Medium hinzuzufügen. Die Abscheidung dieser Schicht ist Teil des standardmäßigen CMOS-Prozesses, insbesondere unseres Partners X-FAB, und ist somit kostengünstig. Durch das Hinzufügen der ARC-Schicht kann die Leistung eines CMOS-ISFET-Sensors in Bezug auf Empfindlichkeit, Auflösung und Drift erheblich verbessert werden.
Patent-Nr.:DE 10 2024 130 098
Erfinder:Alexander Hofman. Florian Kögler. Alexander Zimmer. Anna Hellegers Anak Achong
Anwendung:
Biomedizintechnik| Diagnostik und AnalytikForschungsfeld:Integrierte Sensorsysteme
Patentmitinhaber:X-FAB Global Services GmbH, 99097 Erfurt, DE
offengelegte Patentanmeldung
Anmeldetag:16.10.2024
Tag der Veröffentlichung:16.04.2026
Kontakt
Kontakt
Eric Schäfer, M. Sc.
Leiter Mikroelektronik und Institutsteil Erfurt
eric.schaefer(at)imms.de+49 (0) 361 663 25 35
Eric Schäfer und sein Team erforschen Integrierte Sensorsysteme und hier insbesondere CMOS-basierte Biosensoren, ULP-Sensorsysteme und KI-basierte Entwurfs- und Testautomatisierung. Die Ergebnisse fließen in die Forschung an den Leitthemen Sensorsysteme für die In-vitro-Diagnostik und RFID-Sensoren ein. Er unterstützt Sie mit Dienstleistungen rund um die Entwicklung integrierter Schaltungen und mit KI-basierten Methoden für komplexe IC-Entwürfe.



